Ausbau
Batterie-massekabel (-) abklemmen. Achtung: dadurch können elektronische speicher gelöscht werden, wie zum beispiel der radiocode. Hinweise im kapitel "batterie aus- und einbauen" beachten.
Stellung des rechten vorderrades zur radnabe mit farbe kennzeichnen. Dadurch kann das ausgewuchtete rad wieder in derselben position montiert werden. Beim lösen der radschrauben muß das fahrzeug auf dem boden stehen. Fahrzeug vorn aufbocken und vorderrad abnehmen.
Innenkotflügel vorn rechts ausbauen, siehe seite 204.
Keilrippenriemen ausbauen, siehe seite 58.

Halterung der kühlmittelleitung von der zahnriemenabdeckung abschrauben.

Obere zahnriemenabdeckung abschrauben und abnehmen.

Schrauben -pfeile- für kurbelwellen-riemenscheibe lösen, noch nicht abschrauben. Damit sich beim lösen der schrauben die kurbelwelle nicht mitdreht, 5. Gang einlegen, handbremse anziehen und dadurch motor blockieren.
Motor verdrehen, bis die markierung - 2 - der kurbelwellen- riemenscheibe gegenüber der markierung - 3 - der hinteren zahnriemenabdeckung steht. (1 - Zentrierstift der riemenscheibe).

In dieser stellung muß die markierung auf dem nockenwellenrad mit der ot-markierung an der hinteren zahnriemenabdeckung übereinstimmen. Ist keine markierung vorhanden, mit farbstift stellung des nockenwellenrades markieren.
Keilriemenrad abschrauben, dabei motorstellung nicht verändern.

Untere zahnriemenabdeckung abschrauben -pfeile-.
Zylinderkopfdeckel ausbauen, siehe seite 36.

Der motor steht im ot des 1. Zylinders. Die ot-stellung nochmals kontrollieren: die kerbe am zahnriemenrad der kurbelwelle muß mit der markierung auf dem ölpumpendeckel übereinstimmen -pfeil, rechte abbildung-. Am getriebe-schaufenster muß das motor-schwungrad mit der "0"-markierung übereinstimmen -linke abbildung-

Die fiat-werkstätten blockieren die nockenwelle mit dem abgebildeten sonderwerkzeug. Dazu den letzten (5.) Nockenwellenlagerdeckel an der getriebeseite abschrauben.
Schrauben des vorletzten (4.) Deckels etwas lösen. Darauf achten, daß die ölleitung nicht verbogen wird. Werkzeug einsetzen und anschrauben.

Befestigungsmutter -pfeil- für spannrolle mit ringschlüssel lösen. Dabei entspannt sich der zahnriemen.
Zahnriemen abnehmen, anschließend stellung der zahnräder nicht mehr verändern. Achtung: falls die nockenwelle über einen größeren winkel verdreht werden muß, darauf achten, daß kein kolben im oberen totpunkt (ot) steht, sonst können ventile oder kolben beschädigt werden.
Gegebenenfalls kurbelwelle ca. 90 <1/4 Umdrehung) vor oder nach ot stellen. Dabei riemenscheibe jedoch insgesamt nicht weiter als 90 verdrehen.
Einbau

Kurbelwelle
Nockenwelle,
Kühlmittelpumpe
Spannrolle
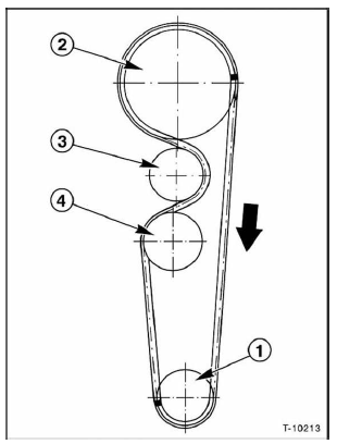
Zahnriemen so auflegen, daß der auf dem zahnriemen angebrachte pfeil in die drehrichtung des motors -pfeilzeigt.
Dabei am kurbelwellenzahnrad - 1 - beginnen und zahnriemen entsprechend der numerierung in der abbildung auflegen.
Achtung: beim auflegen des zahnriemens darf weder die nockenwellen- noch die kurbelwellenstellung verändert werden.
Sonst können schwerwiegende schäden am motor entstehen, beziehungsweise der motor gibt nicht mehr seine volle leistung ab. Nachdem der zahnriemen gespannt wurde, einstellung von nockenwelle und kurbelwelle nochmals kontrollieren.

Spannrolle mit geeignetem holzstück (zum beispiel hammerstiel) am hebel -pfeil- spannen, bis der zeiger - 1 - am oberen anschlag steht. Die spannrolle ist dann maximal gespannt. Befestigungsmutter für spannrolle festziehen.
Falls verwendet, nockenwellen-blockierwerkzeug abschrauben, nockenwellenlagerdeckel nr. 5 Einsetzen und mit 15 nm gleichmäßig anschrauben; auch den lagerdeckel nr. 4 Mit 15 nm festziehen.
Kurbelwelle 2 umdrehungen in motordrehrichtung (rechtsherum) durchdrehen. Dabei verteilt sich die zahnriemenspannung gleichmäßig.

Befestigungsmutter - a - für spannrolle mit ringschlüssel vorsichtig lösen, dabei am spannhebel mit holzstück gegenhalten, sonst entspannt sich der zahnriemen wieder.
Spannhebel langsam entlasten und den beweglichen zeiger - 1 - gegenüber der markierung - 2 - stellen. In dieser stellung mutter für zahnriemenspanner mit drehmomentschlüssel auf 30 nm festziehen.
Kurbelwelle zweimal in motordrehrichtung durchdrehen und einstellung nochmals überprüfen. Die ot-markierung am nockenwellenrad muß mit der ot-markierung am zylinderkopf fluchten, gleichzeitig die markierungen am kurbelwellenrad, siehe abbildungen unter "ausbau".
Bei nicht genauer übereinstimmung zahnriemen entspannen, auf den riemenrädern versetzen und wieder wie angegeben spannen.
Gummidichtung für zylinderkopfdeckei auf beschädigungen prüfen, gegebenenfalls ersetzen. Zylinderkopfdeckel auf zylinderkopf setzen und ganz leicht mit 8 nm anschrauben.
Zündspulen mit halterung am zylinderkopf anschrauben.
Zuerst unteren, dann oberen zahnriemenschutz einsetzen und anschrauben.
Kurbelwellen-riemenscheibe ansetzen und die 4 schrauben mit 30 nm festschrauben. Dabei muß der zentrierstift in der bohrung - 1 - der riemenscheibe liegen, siehe abbildung t-10207 unter "ausbau".
Keilrippenriemen einbauen und spannen, siehe seite 58.
Abdeckung für keilrippenriemen im radkasten einclipsen und anschrauben.
Rechtes vorderrad so ansetzen, daß die beim ausbau angebrachten markierungen übereinstimmen. Vorher zentriersitz der felge und kegelfläche der radschrauben mit wälzlagerfett leicht einfetten. Gewinde der radschrauben nicht fetten oder ölen. Räder anschrauben. Fahrzeug ablassen und radschrauben über kreuz mit 90 nm festziehen.
Batterie-massekabel (-) anklemmen. Zeituhr einsteilen.
Radiosender programmieren.
Beschlagentfernung/
enteisung der heckscheibe
und der aussenrückspiegel
Der druck auf die taste aktiviert
diese
funktion: die einschaltung der funktion
wird durch das aufleuchten der led
auf der taste angezeigt.
Die funktion hat eine zeitschaltung und
wird automatisch nach 20 minuten ausgeschaltet.
Um die heizungsfunktion vorzei ...
Bedienung des schaltgetriebes
Beim einlegen der gänge das kupplungspedal
vollständig niedertreten, und den
schalthebel in die gewünschte stellung verlagern
(das gangschema befindet sich auf
dem schalthebelknopf abb. 2 Und abb. 3.
Zum einlegen des 6. Ganges (versionen
1.416V, 1 ...