Achtung: auf rechts- beziehungsweise links-innengewinde der spurstangenköpfe achten. Die spurstangenköpfe sind mit "trw-l" und "trw-r" gekennzeichnet.
Ausbau
Stellung der vorderräder zur radnabe mit farbe kennzeichnen.
Dadurch kann das ausgewuchtete rad wieder in derselben position montiert werden. Radschrauben lösen, dabei muß das fahrzeug auf dem boden stehen.
Fahrzeug vorn aufbocken und vorderräder abnehmen.

Selbstsichernde mutter - 1 - vom spurstangengelenk - 2 - abschrauben.
Spurstangengelenk mit handelsüblichem ausdrücker - 3 - ausdrücken.

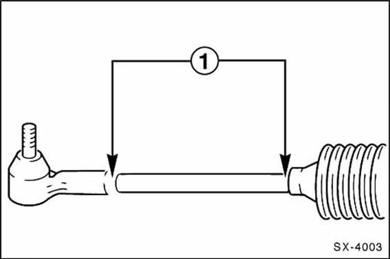
Aufschraubtiefe - 1 - des spurstangenkopfes auf der spurstange messen und notieren.

Kontermutter lösen, dabei mit maulschlüssel am sechskant der spurstange gegenhalten.
Spurstangenkopf von der spurstange abschrauben. Achtung: zusätzlich umdrehungen notieren, um gelenk beim einbau gleich weit aufschrauben zu können.
Einbau
Spurstangengelenk entsprechend dem notierten maß oder der gezählten umdrehungen aufschrauben, kontermutter noch nicht festziehen.

Gelenk in den lenkhebel einsetzen, neue selbstsichernde mutter - 1 - mit 35 nm festziehen.
Kontermutter für spurstangenkopf festziehen, dabei mit maulschlüssel am sechskant der spurstange gegenhalten.
Vorderräder so ansetzen, daß die beim ausbau angebrachten markierungen übereinstimmen. Vorher zentriersitz der felge an der radnabe sowie die kegelfläche der radschrauben mit wälzlagerfett leicht einfetten. Gewinde der radschrauben nicht fetten oder ölen. Räder anschrauben.
Fahrzeug ablassen und radschrauben über kreuz mit 90 nm festziehen.
Fahrzeug vermessen, gegebenenfalls spur einstellen (werkstattarbeit).
Luftfilter aus-und einbauen
Beschrieben wird der ausbau am beispiel des 1,4-l-motors.
Bei den anderen motoren sitzt der luftfilter an der anderen
fahrzeugseite, bei der demontage dort in entsprechender
weise vorgehen.
Ausbau
Luftfiltereinsatz ausbauen, siehe seite 299.
An ...
Installation von elektrischen/
elektronischen vorrichtungen
Die elektrischen/elektronischen vorrichtungen,
die nach dem kauf des fahrzeugs
im nachverkaufsservice installiert werden,
müssen folgendermaßen gekennzeichnet
sein:
Fiat auto s.P.A. Genehmigt den einbau von
sende- und empfangsgeräten, sofern di ...